Special Projects Safety

Part-No. / Function VSUPPLY Interfaces / Features μC Interface Package
E521.40
2-Channel Multi-Mode PSI5 Transceiver

5.3V to 19V

2 PSI5 Master rev 2.1 / 1.3
Standard / fast
Sync (int. Chargepump) / async

SPI (16 bit, 5MHz) /
UART (16 bit, 6.4 Mbps)

QFN20L5
SOIC20

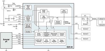
E521.41
4-Channel Multi-Mode PSI5 Transceiver

5.3V to 19V

4 PSI5 Master rev 2.1 / 1.3
Standard / fast
Sync (int. Chargepump) / async

SPI (16 bit, 5MHz) /
UART(16 bit, 6.4 Mbps)

QFN20L5
SOIC20

Interface Transceiver PSI5 Transceiver

Part-No. / Function VSUPPLY Iq ESD Bitrate Package
E521.40
2-Channel Multi-Mode PSI5 Transceiver

5.3V to 19V

1

4kV

up to 189 Kbit/s

QFN20L5
SOIC20

E521.41
4-Channel Multi-Mode PSI5 Transceiver

5.3V to 19V

2

4kV

up to 189 Kbit/s

QFN20L5
SOIC20

E981.07
2-Channel Sensor Interface PSI5

8.5V to 25V

1

4kV

125 Kbit/s

QFN20L5

E981.08
4-Channel Sensor Interface PSI5

8.5V to 25V

1

4kV

125 Kbit/s

QFN32L7

Show cookie popup